Dit industriële dubbel cilinderslot voor schuifpoorten is ontwikkeld voor situaties waar een poort van beide zijden onafhankelijk bediend moet kunnen worden. Dankzij de uitvoering met 2 cilinders volstaat het om één van beide cilinders te bedienen om het slot te openen of te sluiten. Daardoor is dit schuifpoortslot bijzonder geschikt voor toepassingen waarbij gecontroleerde toegang noodzakelijk is, zoals bij brandweerdoorgangen, technische toegangen of huisvuilophaling.
De combinatie van een aluminium behuizing en een roestvrijstalen binnenwerk zorgt voor een sterke, duurzame en corrosiebestendige oplossing voor intensief buitengebruik. Het innovatieve sluitmechanisme met Twistfinger in roestvrij staal staat garant voor een betrouwbare sluiting van de schuifpoort. De roestvrijstalen huls rond de Twistfinger helpt bovendien om het doorzagen van de pen tegen te gaan, wat de veiligheid extra verhoogt.
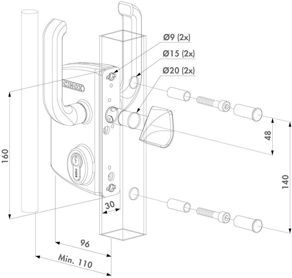
Dit slot is geschikt voor poortprofielen van 40 tot 120 mm en is dankzij de 3-gatsbevestiging met 2 inbusbouten vlot en stevig te monteren. Bovendien is het uitwisselbaar met Locinox LS-sloten, wat vervanging of integratie in bestaande installaties eenvoudiger maakt.
Specificaties
✔ Dubbel cilinderslot voor schuifpoorten
✔ Slechts 1 van beide cilinders bedienen volstaat om te openen of te sluiten
✔ Ideaal voor brandweerdoorgangen, technische toegang of huisvuilophaling
✔ Aluminium behuizing met roestvrijstalen binnenwerk
✔ Mechaniek en Twistfinger in roestvrij staal
✔ Omkeerbare Twistfinger
✔ Innoverend sluitmechanisme
✔ Roestvrijstalen huls rond de Twistfinger voorkomt het doorzagen van de pen
✔ Geschikt voor poortprofielen van 40 t.e.m. 120 mm
✔ 3-gatsbevestiging met 2 inbusbouten
✔ Uitwisselbaar met Locinox LS-sloten
✔ Standaard geleverd met versterkt aluminium krukpaar
✔ ISO 9227 KTL / elektrostatisch dompelgelakte slotkast
✔ Weerstaat 1000 uur zoutneveltest