De LOCINOX LAKQH2 is een hoogwaardig sierpoortslot in opbouw dat speciaal ontwikkeld werd voor sierhekwerk en draaipoorten. Dankzij de combinatie van een aluminium behuizing en een roestvrijstalen binnenwerk biedt dit slot een uitstekende balans tussen duurzaamheid, corrosiebestendigheid en gebruiksgemak. Dit model wordt dan ook vaak als standaardoplossing voor sierpoorten aanbevolen.
Een van de grote voordelen van dit opbouwslot is de continue regelbaarheid van beide pennen. Daardoor kan de poort uiterst precies worden afgesteld voor een optimale sluiting en een betrouwbare vergrendeling. De massieve roestvrijstalen nachtpen zorgt met een dieptevergrendeling van 23 mm voor extra veiligheid. Bovendien is het slot standaard uitgerust met een zamac sierkrukpaar, wat perfect aansluit bij de uitstraling van decoratieve poorten en hekwerk.
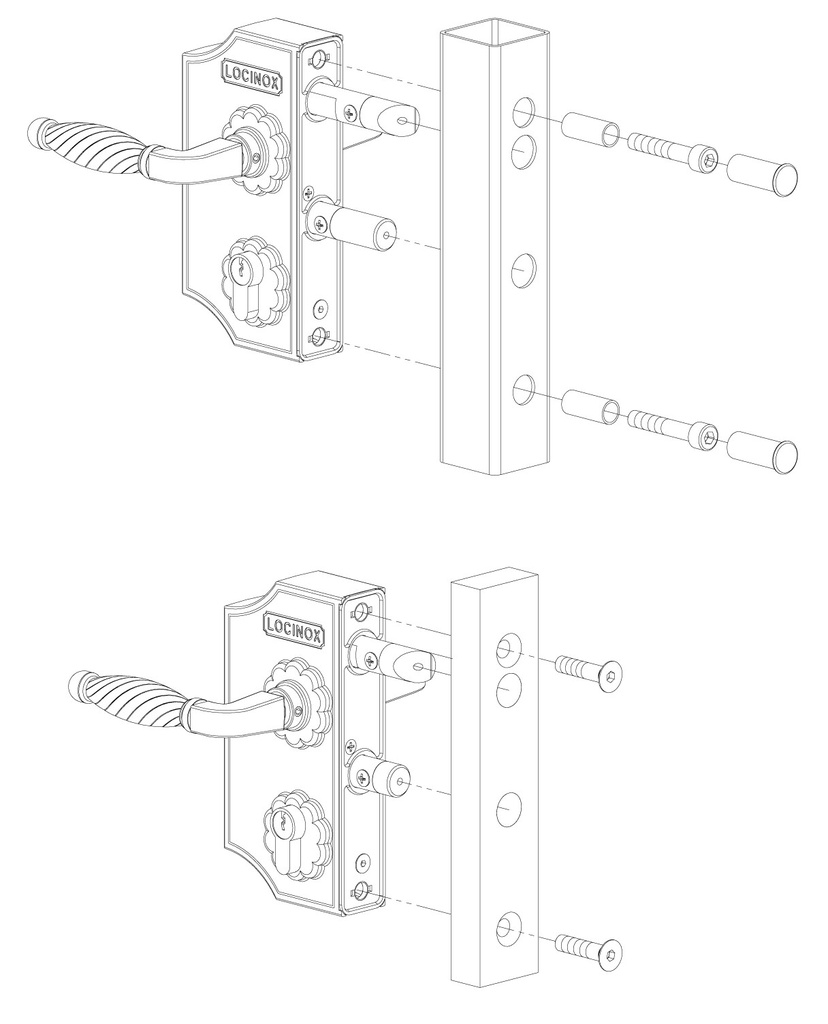
De LOCINOX LAKQH2 is ontworpen voor een snelle en nauwkeurige montage. In combinatie met het Drill-Fix boorkaliber verloopt de installatie nog efficiënter. Dankzij de weerbestendige afwerking en de hoge kwaliteit van de gebruikte materialen is dit slot bijzonder geschikt voor langdurig buitengebruik.
Specificaties
✔ Groot sierpoortslot in opbouw
✔ Art. nr. D00000002
✔ Aluminium behuizing
✔ Roestvrijstalen binnenwerk
✔ Standaard aanbevolen voor sierhekwerk en sierpoorten
✔ ISO 9227 KTL / elektrostatisch dompelgelakte slotkast weerstaat 1000 uur zoutneveltest
✔ Eenvoudige links- en rechtsomstelling van de dagpen
✔ Massieve roestvrijstalen nachtpen
✔ Dieptevergrendeling nachtpen: 23 mm met één draai van de sleutel
✔ Continue verstelbaarheid tot 20 mm van beide pennen zonder demontage van de slotkast
✔ Sleutelbediening van de dagpen
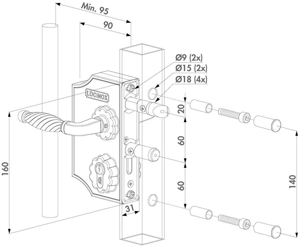
✔ 4-gats-bevestiging met 2 inbusbouten
✔ Standaard voorzien van zamac sierkrukpaar
✔ Centerafstand pennen: 60 mm
✔ Aanbevolen in combinatie met het Drill-Fix boorkaliber